®i¥Ü·|¿O¥ú·Ó©ú
¡@

1. 

¹Ï®×LOGO¼s§i§ë¼v¿O

2. «Ç¤º®ðª^ ¹Ï®×§ë¼v¿O

3.

户¥~¼s§i ¹Ï®×§ë®g¿O

4.

 LED¨¾¤ô«¬¹Ï®×§ë®g¿O

5.

 LED±ÛÂ૬¹Ï®×§ë¼v¿O

6.

 HID½Æª÷ÄÝ¿Oªw§ë¼v¿O
7.  ¥i½s¿è¹Ï¤å¹p®g¿O¿E¥ú

8.

·ÏÃú¾÷ªwªw¾÷¯S®Ä¿O¨ã
9.  LED »R¥x·nÀY¹q¸£¿O
10. ¹q¸Ü«ÈªALINE«t¸ßªA°È

  facebook    twitter    ¥[¤J¦n¤Í     youtube

¡@
¡@

¤j¥\²v ¤j«¬¼s§i  ÅܵJ ¹Ï®×§ë®g¿O 15¢X~26¢X

¤j«¬¼s§i ÅܵJLOGO¹Ï®×§ë®g¿O

§ë  ®g  ¹ê  ¨Ò

§ë  ®g  ¶Z  Â÷  ©M  ¹Ï  ®×  ¤Ø  ¤o
¥\¯à»¡©ú
Function
¤j¥\²v¹Ï®×§ë®g¿O, ¬O±M¬°¦UºØÃþ«¬ªº°Ó·~³õ©Ò©Ò³]­pªº¿O¥ú¨t²Î,¥H³Ì·sªº¥ú¾Ç§Þ³N¡A¿é¥XÀu¨}ªº¥ú½u
¤Î¹Ï®×LOGO¡A¥ú´³§¡¤Ã¡A¾B¥ú¹h©Ò§ë®gªº¼v¹³¤Q¤À²M´·¡Fºë½Tªº¥ú¾Ç¨t²Î¡A°ª®Äªº¥ú¾Ç³zÃè¡A°ª©Ê¯àªº
LJS-C2000W (°ª«G«×) ¥Û­^¿O¡A¯S®í¨¤«×¿Oªw«G«×¶W¹L¨ä¥L1000Wªº°ª³W¿O¨ã¡A«G«×´£50%¡A¬Ù¹q48%¡A±Ä
¥ÎÀ£Å±¾T¥~´ß¥~§Î¬üÆ[¤j¤è¡A¿OÅé´²¼ö©Ê¦n¡A¤Ï¥ú¨t²Î±Ä¥Î³Ì¥ý¶iªº¤¶½è½¤¤Ï¥ú¸n¡A±N97%¥H¤Wªº¥i¨£¥ú

 ¦V«e¤Ï®g¡A83%¥H¤Wªº¬õ¥~½u¤Î¼ö¶q¦V«áµo®g¡A¨Ï¿Oªw©P³òªº·Å«×¤j¤j­°§C¡F³Æ¦³¤£¦P«×¼Æ³zÃè¿O¨ã¡A²

 ©ö¹ïµJ©M½Õ¸û¿O¨ã¤£»Ý­n¥ô¦ó¤u¨ãÀ°§U¡A§ó´«¿Oªw¥u¦³¤@®ÚÁ³µ·,¶W¤è«K ¡C
·s©_¿W¯Sªº¼s§i·Ó©ú,®i²{¦æ¾P«Å¶Ç·s·§©À¡I ¥i¯u¥¿¦b«Ç¤º¥~°µ¤é©]¶¡µøÄ±¾_¾Ñ©Ê¼s§i,¤å¦r©Î¹Ï®× ³£¥i§ë
®g¦b¦p¦ó­I´º¤W.§l¤Þ«È¤áª`¥Øªº²´¥ú¡C¾A¥Î³õ©Ò: «Ç¤º¥~Àð­±.¤ÑªáªO.¦aªO¦U¹Ï¤å¼s§i³Ð·N«Å¶Ç §ë®g·Ó©ú,
µøÄ±®öº©®ðª^ Ĺ³y¡C
 ¥i¥Hº¡¨¬¤£¦P³õ©Ò¤j¥\²v»E¥úªí²{¡C¤×¨ä¾A¦X¨Ï¥Î¹¡©M«×·¥°ªªºÃC¦â©Î§@»·¶ZÂ÷LOGO§ë®gªº«Ø¿v·Ó©ú
 ¼s§i¦æ¾PLOGO§ë®g¡C¨Ã¥i«È¨î¤Æ¤£ù׿ûGOBO¤ù,§ë®g¤j¹Ï®×, ¯à§â¥ô¦ó¹Ï®×¥H¥úªº§Î¦¡§ë®g¦b¥ô¦ó¤£³z¥ú
ªºªí­±¤W¡C
§ë¼vªº¹Ï®×«Ü®e©ö§l¤Þ²³¤Hªº²´¥ú¡AÀç³y¥X·ÅÄÉ©M¿Óªº®ð¾Ä¡A¦P®É¤]¯à§â°Ó®a³Ì·sªº³Ð·N¡A³Ì·sªº«P¾P
 ¸ê°T¡A³Ì·sªº²£«~®i¥Üµ¹²³¤H¡C¦pµ¹®i³õ©Î«Ø¿vª«·Ó©ú¤Î«P¾P¼t®a¥´LOGO¹Ï®×¡C¦a­±©ÎÀð¾À¤W§ë¼v¥X
 ¦UºØ­Ó©Ê¹Ï®×¡A§í©Î±M½æ©±¥´¥X¦UºØ¹Ï§Î¥H«K«Å¶Ç¤½¥q¡C¦UºØ¹Ï®×­q¨îGOBO¤ù³£¥i¥H­q°µ¡A ¼sªxÀ³¥Î
¦b¯S¦â®T¼Ö¬¡°Ê³õ©Ò,®iÄýÀ],«~µP±M½æ©±,»«À],°s©±,¤j½æ³õµ¥µ¥¡C
(®g¼v¹³²M´·,  ³æ»ù¶W«K©y¡]¹Ï®×©T©w¡BLOGO¬ð¥X¡BµøÄ±¼s§i·¥¨Î)
«~¦W     ÅܵJ750W-15 ¢X~26 ¢X ¿O¨ã         ¥i«È¨î¤Æ  «È¤áLOGO   ¨Ñ§ë®g¼v¹³¤§GOBO¤ù

¦â·Å
    3200K
¿O®y³W®æ
     HPL-C 9.5
¿Oªw³W®æ
    HPL-C 750W (°ª«G«×) ³¿Âë¥Û­^¿Oªw   
¿Oªw¹Ø©R
Life
     300hr~(¤p®É)
¿Oªw¼Æ¶q
Lamp Quantity
     1 pc
Gobo¹Ï®×¤Ø¤o   ¥~®| 90 mm x 90 mm   /   ¤º®| 60 mm x 60 mm
¹qÀ£
Power
        AC 115V   ©Î 220~230 V     50 / 60Hz

¤£ù׿ûGOBO     ­@°ª·Å¬Á¼þGOBO     ¤£ù׿ûGOBO

µJ¶Z
DMX¹ïÀ³ 
 ³zÃèµJ¶Z©wµJ·L½Õ¸` ¤£»Ý¹ïÀ³DMX,¾Þ§@²³æ
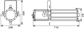
¥~«¬¤Ø¤o
Dimension
     ¥D¾÷    ¤Ø¤o¡G710mm x 240mm x 430mm
¥»Åé­«¶q
Weight
     ¥D¾÷    ¡G8.3.kg
¡@
¼s§i§ë®g¿O  §ë®g½d¨Ò    ¤p¹Ï«ö¤G¤U,¥i©ñ¤j¼v¹³

¡@
¡@¡@

GOBO§ë¼v¼s§iªº§l¤Þ¤H¤§³B­º¥ý¦b©ó¨ä·s¿oªº§Î¦¡¡C ¥Ñ©ó³oºØ§ë¼v§Î¦¡ªº¼s§i¦b¥«³õ¤WÁÙ¤£¦h¨£¡A ¤H­Ì¹ï¥¦¥Rº¡¤F·sÂA·P¡A¦n©_¤§¤ß«P¨Ï¤H­Ì¹ï¥¦µ¹»P§ó¦hªºÃöª`¡A Á×§K¤F¨ä¥L§Î¦¡ªº¼s§i¤w¸g¦b¤H­ÌÀY¸£¤¤²£¥Í¤FªºµøÄ±¯h³Ò©M©èIJ±¡ºü ¡C

§ë¼v¼s§i¿O¨Ï¥Îªº¬O°ª»E¥ú§ë¼v¥ú·½¡A¥i¥H©M©P³òªº¥ú½u§Î¦¨°ª±j«×ªº«G«×¹ï¤ñ¡A ¦b§½³¡Àô¹Ò¨Ï±o§Aªº¼s§i¤º®e«Ü¬ð¥X¡A ³o¤]¬O§ë¼v¼s§i¯à§l¤Þ¤Hªº¤S¤@­Ó­«­n¦]¯À ¡C

¡@
§ë¼v¿O¬O¤@ºØ°ªÀ£ª÷Äݳ¿¤Æª«®ðÅé©ñ¹q¿O,¦b¿O¤º¥R¦³¤ô»È,´ã®ð©Mª÷ÄݤƦXª«,ÂI¿U®É¦b°ªÀ£§@¥Î¤U¤ô»È»]®ð©ñ¹q¦P®É¿Eµo¦UºØª÷ÄÝ»]®ð©ñ¹q²£¥Í±j¯P©·¥ú.³oºØ¿O¥]§t¤F¥i¨£¥ú¥þ½d³òªºµo¥úÀWÃÐ,¨ã¦³ÂA©úªº¥ú®Ä  ¡C
¡@
¦b®T¼Ö³õ©Òªº¸Ë¹¢¸ËæC¤¤¡A¿O¥ú³]­p¤×¬°­«­n¡A³o¤]¬O§l¤Þ®ø¶OªÌ¥Ø¥úªºÃöÁä¡AµºÄR¿W¯Sªº¿O¥ú­·®æ¨¬¥i¥H§l¤Þ¤H­Ìªº¥Ø¥ú¡A¦]¬°§Ú­Ì¥»¨­¹ï©ó¥úªºµøÄ±®ÄªG«Ü±Ó·P¡AÁöµM¤£¬O¹³±M®a¨º¼Ë«ÜÀ´¥ú¡A¦ý§Ú­Ì³q±`·|¥Î¦n»PÃa¨Óµû»ù¿O¥ú³]­p¡A¦nªº¿O¥ú³]­p¯à°÷±aµ¹­Ì¤@ºØ¤ßÆF¤Wªº¨É¨ü¡AÅJ®g¿O¥Î©óPUB¡BKTV¨p¤H®b·| µ¥¦UºØ®T¼Ö³õ©Ò®É¡A¬OÀç³y°g¤H®ðª^ªº¤@­Ó­«­n¦]¯À¡A¨äÅå©_ªº®ÄªG¥i¥HÅé²{¥X¿O¥ú³]­p¿W¯Sªº­·®æ¡AÅé²{¥X®T¼Ö³õ©Òªº­Ó©Ê¤º²[¡A¥Ñ¦¹¥i¥H¬Ý¥XÅJ®g¿O¹ï©óPUB¡BKTVµ¥®T¼Ö³õ©Òªº­«­n§@¥Î¦b©Ò¦³ªº®T¼Ö³õ©Ò¿O¥ú³]­p¤¤­}ÆU¤¤ªº¿O¥ú³]­p¦³ÂI¯S§O¡A³o¤@³õ©Ò¿O¥ú³]­p¤£¦ý­n¦Ò¼{·Ó©ú³]­p¦Ó¥BÁÙ­nª`·N»R¦À¿O¥ú³]­pªº»P²³¤£¦P¡A»Ý­n¦Ò¼{ªº°ÝÃD«D±`¦h.¦b¾ã­Ó­}ÆU¿O¥ú³]­p¤¤»R¦Àªº¿O¥ú³]­p³Ì¯à¨Ï¤H·Pı¨ì¥ú¡B¦â±mªº¦h«º¦h±mªº°g¤H¾y¤O¡A¯S§O¬O°t¦XµÛ­µ¼ÖºqÁn¡B±Û«ß¡B¸`«µÅܤ۪º¿O¥ú§ó¨Ï¤H°gºv¡A§ó¨Ï¤H³³¾K¡C³o­Ó°Ï°ìªº¿O¥ú³]­p¤j®a­n­«ÂIÃöª`¡C

¥»¤½¥q§ó¦h¹p®g¿O¨t¦C¤¶²Ð  :    ªø¯xÂ÷  A. ¤j¥\²v¼s§i °Êµe¹p®g¿O         ¤Î         ¤¤¯xÂ÷    B. ²©ö«¬«Ç¤º¬õºñ¹p®g¿O¡@

¡@
65W  «Ç¤º¥~  §ë®g¿O|230W¼s§iLED§ë®g¿O|§ë¼v¿O  ¯S©Ê  Q&A|GOBO  ¤p±`ÃÑ|»R¥x¿O  ¨t¦C¡@
¡@
¡@
¡@
¡@